Motomazine.com Bro dan sis… Sebelumnya admin MMz meminta maaf kepada pembaca semua khususnya, karena selama 2 hari belakangan ini blog sepi dari update. Dikarenakan situasi dan kondisi yang mengharuskan MMz full konsentrasi kepada anak tercinta.. Dan alhamdulillah, akhirnya kali ini admin kembali bisa menyuguhkan kabar seputar dunia otomotif kepada pembaca sekalian…
Yup… Kabar terbaru datang dari pabrikan sayap mengepak, Honda… Dikabarkan baru-baru ini Honda telah mematenkan mesin 2 tak versi modern.. What…?? 2 tak…?? Yang boros, berisik, dan ngebul itu..??? Eitsss… Tunggu dulu masbro dan mbaksis.. Jangan terlalu dini menjustifikasi.. Sebab, dengan pengetahuan di bidang teknologi yang dimiliki insinyur-insinyur Honda, bukan tidak mungkin kekurangan-kekurangan itu bisa diminimalisir sedemikian rupa..
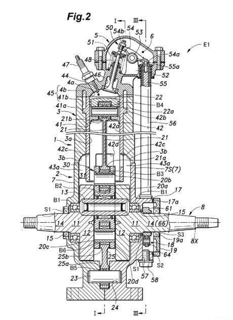
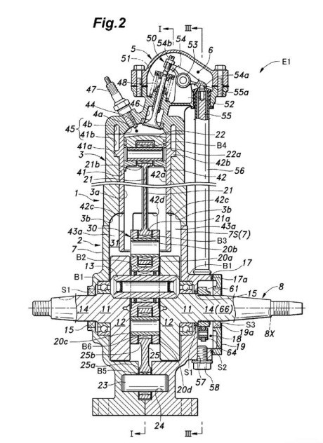
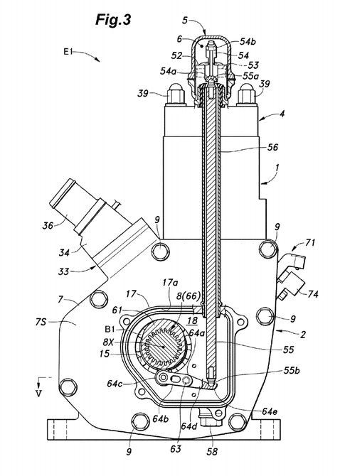
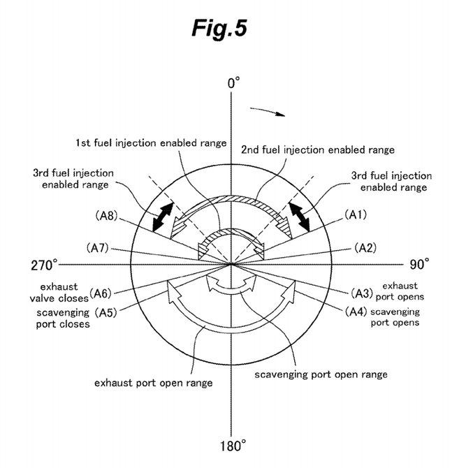
Seperti pada gambar yang terlihat, di sana terpampang beberapa desain calon mesin yang akan digunakan Honda untuk motor 2 tak modernnya.. Bahkan di tag no. 70, 71, 72 dan 74 tergambar bagaimana nantinya sistem pengabut bahan bakar (fig.5) akan ditanamkan..
Yap.. Betul masbro.. Mesin 2 tak modern Honda ini nanti akan menggunakan pengabut bahan bakar injeksi.. Dengan harapan kekurangan berupa emisi gas buang yang jauh dari ambang batas normal yang ditetapkan (EURO), bisa disiasati.. Walaupun tentunya untuk urusan yang satu ini disinyalir membutuhkan cost production yang lebih banyak.. Dan impact-nya mungkin harga jual juga bakal sedikit lebih melambung..

Namun.. Ringkasnya konstruksi mesin 2 tak diharapkan mampu menutupi itu semua.. Iya masbro.. Jelas bahan baku pembuatan mesin 2 tak akan lebih sedikit dibanding dengan mesin 4 tak yang lebih kompleks..
So… Semoga ini bukan hanya akan menjadi “isapan jempol” belaka masbro.. Bagi sampeyan yang terlahir di era 70-80an pasti hafal benar bagaimana sensasi berkendara mesin 2 tak.. Jambakan yang tentu saja tak mampu digantikan oleh motor-motor 4 tak.. Sensasi raungan mesin yang berteriak kencang saat mesin dipaksa mengail power pada kitiran rpm tertinggi membuat jantung berdegup lebih kencang, adrenalin terpompa kencang dan keringat dingin begitu saja mengucur… Mantap wesss pokoknya…
Last… Kita benar-benar berharap Honda mampu kembali mewujudkan dahaga kita ya bro, para 2-tak lovers yang menginginkan tunggangan terfresh.. Dengan sensasi kedahsyatan 2 tak, namun lebih senyap dan ramah lingkungan… Opo ora juossss coba…???
Semoga ya bro dan sis….
@pict source: google
Related Posts:
- Perkuat Layanan Terbaik untuk Konsumen, MPM Honda Jatim Tingkatkan Kualitas Layanan 2026
- Peduli Pemudik, MPM Honda Jatim Bagikan 500 Jaket Eksklusif di Bale Santai Honda Jalur Mudik Jawa Timur
- Yuk Kenali Lebih Jauh Honda Smart Key System
- Bale Santai Honda 2026, Bukti MPM Honda Jatim Setia Dampingi Pemudik
- Cari Aman: Berikut Tips Jaga Fokus saat Riding di Bulan Puasa
- Ramadan Care 2026: MPM Honda Jatim Hadirkan Kebersamaan dan Semangat Berbagi di Bulan Suci
- Hijabers Serenity Ride, Ngabuburide Penuh Makna Bersama Honda Scoopy
- Mantab Surantab! Konsumen Madiun Raih Honda Scoopy dalam Undian “Untukmu Konsumen Honda”
- Waspada Jalur Tanjakan dan Cuaca Ekstrem, Saatnya Tingkatkan Kesadaran #Cari_Aman di Malang Raya
- MPM Honda Jatim Gencarkan Edukasi Keselamatan Berkendara bagi Ratusan Karyawan dalam Momentum K3
========
Silakan bersilaturahmi dengan Motomazine, di:
Email: tinoachza46@gmail.com
Facebook: motomazine.wordpress.com
Twitter: @Aguztino86
Google+: tinoachza46
BB: 524dbd4e





Knalpot bunyi dan bentuknya bakalan beda dg tambahan katup di head.Efisien waktu langkah kompresi lubang buang ga ngowoh serta durasinya lebih fleksibel ngaturnya. lebih efisien lagi gas sisa pembakaran di usir gas segar dr arah bawah.teknologi lama batang pengungkit dipake lagimantab siap di jambak setan
SukaSuka
Nice analisis msbro..intinya motor dengan jambakan setan namun dengan efisiensi bahan bakar serta suara yg masuk ambang batas euro3.. Mantabh..
SukaSuka